一 、概述
乐盈llV 本系列电压互感器一次绕组带有熔断器保护V型接线电压互感器,采用环氧树脂浇注绝缘全封闭结构,其熔断器装在一次出现端子内部,更换方便,熔断电流与互感器短路承受能力相匹配,缩小了空间,此种互感器除二次输出100W电压供测量使用外,还带有110V、220V输出电压端子供给操动机构作电源。
二、型号含义

三、技术参数
●技术参数见表:
●局部放电水平符合GB1207-2006《电压互感器》标准;
乐盈llV ●配用熔断器型号为XRNP□-12型,0.2A,50看A(特殊要求请订货时提示)。
四、主要技术参数

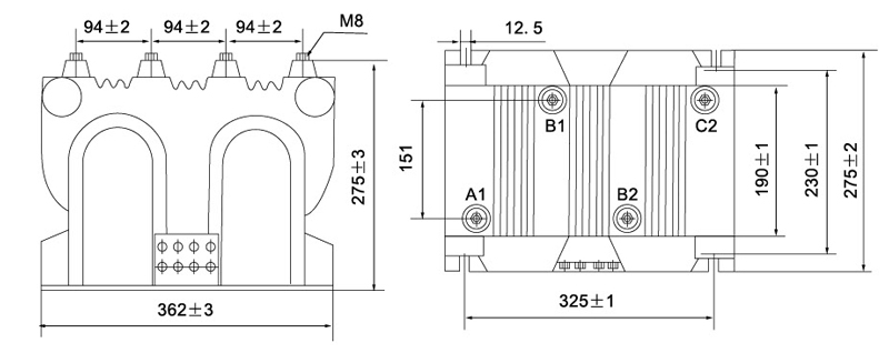
乐盈llV 五、外形及安装尺寸


